4.定点医疗机构因政策规定等特殊原因为参保人全额垫付医疗费,由医疗机构(加盖公章)以及参保人本人签名确认的《申请表》,可将医疗费拨付至医疗机构在市医保中心登记的医疗费结算账户 。
5.因客观原因不能激活社保卡及不能回广州提取个人零报账户资金的异地就医人员,拨入本人在广州开立的其他银行账户,开户行应为医保协议银行(光大银行、广州银行、广发银行、农业银行、中国银行、工商银行、农商银行、招商银行、交通银行、建设银行、邮储银行) 。
网上办理(相关界面显示仅供参考,请以实际系统显示为准 。)
?。ㄒ唬┩ü愣穹裢炖?
1.登录“广东政务服务网” 。http://www.gdzwfw.gov.cn/

文章插图
2.“切换区域与部门”选择“广州市—市医保局” 。(请勿选择到区)

文章插图
3.在搜索栏搜索“门诊费用报销” 。

文章插图
4.选择“门诊费用报销”

文章插图
5.选择“办事情景”

文章插图
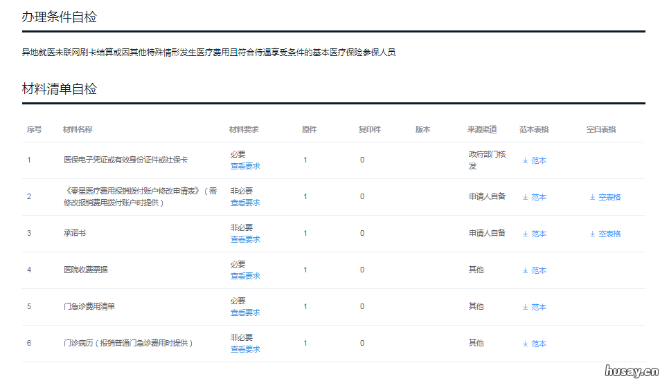
6. 办理情形选择具体需要办理的业务情形 , 下载相关材料范本或空表 。

文章插图

文章插图
7.非参保人本人申请的,在相应办理情形信息录入界面中的申请主体信息应填写申请办理此项业务的参保人信息 。

文章插图
8.在上传资料界面,将所需要的资料照片或扫描件按要求进行上传 。
【广州医保门诊零星报销指南 广州医保门诊零星报销指南最新】

文章插图
9.在办理方式选择界面 , 根据申请人参保所在区选择“大厅办理”及“大厅取件”的服务网点(后续在选择的网点递交资料) 。
10. 点击“确认提交”完成业务办理 。

文章插图
11.根据预受理结果完善申请资料或递交(邮寄)资料。

文章插图
- 沈阳城乡低保边缘对象医保缴费标准2023 沈阳低保边缘户申请条件
- 2023沈阳在校学生医保要交多少钱 沈阳2022医保缴费
- 2023沈阳居民医疗保险缴费标准是多少 2022年沈阳市居民医保缴费标准
- 南通少儿医保缴费标准 南通儿童医保缴费标准
- 南通医保卡使用指南
- 南通医保为什么还没使用就扣了90块钱
- 南通医保服务开通移动支付功能 支付宝医保南通保
- 南通医保服务专项治理内容一览 南通医保管理中心
- 南通居民医保报销比例是多少
- 南通医保报销范围及材料 南通医保报销需要什么材料
