
文章插图
【西安申请大学生公租房怎么做 西安大学生公租房申请条件】一、申请条件
满足以下条件之一即可:
3年内全日制普通高等学校新毕业大学生;
5年内全日制“双一流”建设高校新毕业大学生 。
注:毕业时间3年/5年内均可申请 , 外地毕业的大学生也可申请
二、租住时间
全日制普通高等学校新毕业大学生给予1年租住过渡期;
全日制“双一流”建设高校新毕业大学生给予2年租住过渡期 。
提示:过渡期满,按照西安市公租房准入条件重新进行资格审核
三、租金标准
西安大学生公租房租金标准:
过渡期内,按建筑面积2.89元/平方米·月收取(免收物业服务费);
四、申请材料
身份证(正、反面图片)
毕业证(原件电子图片)
学历证明(学信网:原件电子图片)
温馨提示:以上材料图片大小建议不要超过1M,否则无法成功上传图片
五、线上资格申请流程
资格申请入口:西安市住房和城市建设局官网(http://m.xa.bendibao.com/live/zjj.xa.gov.cn) 。
第一步:进入西安市住房和城市建设局官网,点击【个人办事】;

文章插图
第二步:点击【个人统一认证登录】;

文章插图
第三步:登录注册账号(未注册账号的需先进行注册);

文章插图
第四步:点击【资格申请】;

文章插图
第五步:点击【大学生公租房意向登记】;

文章插图
第六步:阅读申请须知及承诺书,点击【下一步】;

文章插图
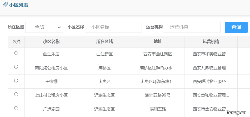
第七步:选择申请小区、填写其他个人信息,点击【下一步】;

文章插图

文章插图
第八步:上传申请材料,点击【提交】;

文章插图
第九步:材料提交成功,完成资格申请;

文章插图
按照以上流程登记报名后 , 获得资格后,进入轮候配租阶段 , 市保障中心会按轮候顺序进行分配,并与大学生签订配租协议 。
大学生持配租协议,到大学生公租房物业办理手续并入住即可 。
- 西安办理居住证需要什么资料 西安办理居住证需要哪些资料
- 西安青年人才驿站能申请几个 人才驿站真的能申请吗
- 2022西安居住证办理流程是什么 西安居住证办理流程2019
- 西安居住证办理多少钱 西安办居住证要多少钱
- 西安居住证办理需要多久 西安居住证办理多久可以拿证
- 合肥医保慢特病门诊待遇申请步骤和流程 合肥特殊病门诊报销比例
- 合肥慢性病 合肥慢性特殊病申请
- 福州住房公积金有贷款还能不能申请商转公 厦门公积金可以还福州房贷吗
- 2022其他市县户籍不能申请海口安居房吗? 海口市城区户籍
- 海口安居房是在户籍地申请还是在居住地申请? 海口安居房的申请条件
